Как называется колпак на трубу дымохода – Колпак (зонт, флюгарка, дымник) на дымоход: для чего нужен и как сделать своими руками
для чего нужен и как сделать своими руками
На многих дымоходах сверху надеты какие-то колпаки. Форму они имеют разную – прямоугольную, квадратную, плоскую, конусообразную, гнутую и т.п. Эти устройства имеют множество названий:
- Колпак на дымоход
- Зонт на дымоход
- Грибок на дымоход
- Дымник
Примерно такая же конструкция называется флюгаркой, но первоначально флюгарка на дымоход была основой для флюгера – устройства, которое поворачивалось в зависимости от направления ветра. Сегодня же некоторые этим термином называют любой колпак, надетый на дымоход.

Флюгарка на дымоход
Есть еще одно особое устройство — дефлекторы или аэродинамические колпаки на дымоход. Их разрабатывают специально для усиления тяги с учетом законов аэродинамики. Любой колпак на дымоходе является препятствием для воздушного потока, который разделяется, «обходя» его и создавая вихревые потоки. При этом возле трубы образуется зона с более низким давлением, что увеличивает тягу. Конструкция делекторов разрабатывается специально, потому их эффективность (в смысле улучшения тяги) намного выше.
Для чего нужен колпак на трубе дымохода
Традиция устанавливать на дымоходах колпаки пришла к нам из прошлого. Еще в 19 веке они были только коваными, ведь других способов из готовить изделие из железа попросту не было. Так как труд кузнеца был недешев, то и позволить себе такое украшение на крыше могли далеко не все. Зато на богатых домах и замках колпаки на дымоход были украшены целыми композициями из металла. Чаще всего изображали фигурки людей, животных и птиц. Иногда владельцы какого-либо бизнеса заказывали в качестве флюгера изображение предмета, который символизировал занятия хозяина. Такая себе наглядная реклама.
Флюгарка на дымоход
В действительности функций у зонта, установленного на дымоход, несколько:
- Защищает трубу от попадания воды и снега. При обильных осадках в трубе может оказаться достаточное количество влаги, чтобы «запереть» тягу. Надетый сверху, но не мешающий выходу дыма колпак, значительно снижает ее количество. Потому форму колпака стоит подбирать исходя не только из эстетических соображений: если в вашем регионе выпадает много снега, то лучший вариант – колпак в виде маленькой вальцевой крыши с достаточно большим углом. С таких зонтов хорошо сходит снег.
- Колпак на кирпичной трубе дымохода защищает кирпич от разрушения. Большая часть современных изделий имеют специальные канавки для отведения конденсата, который неизбежно образуется на холодной металлической поверхности, при контакте с разогретым дымом (или воздухом, если это выход вентканала).
- Предотвращает попадание в дымоход насекомых, животных, птиц, листвы и других предметов, которые может занести ветер.
- Улучшает тягу. Специально для улучшения тяги разработаны дефлекторы разных модификаций, но любой грибок на трубе тоже неплохо справляется с такой задачей: она повышается примерно на 20%.
Для чего нужен зонт над трубой дымохода теперь понятно. Осталось понять из чего его делать и какую форму лучше выбрать.
Какие материалы используют для изготовления колпаков их крепежа
Изготавливают колпаки на дымоход из материалов, который стойки к коррозии, переносят высокие температуры и имеют длительный срок эксплуатации. Требование по температурному режиму действует, только если устройство закрывать будете дымоход. Для вентканалов вполне подойдет изделие из полиэстера, пурала и т.п. Во всех других случаях используют:
- Оцинкованную сталь
- Нержавеющую сталь
- Медь
- Сплав цинк-титан
Флюгарки (дымники) из меди служат долго, от 50 до 100 лет. Это один из самых долговечных материалов, но при его монтаже необходимо использовать метизы из меди. В противном случае начнутся активные коррозионные процессы, которые значительно сократят сроки жизни устройства. Установка цинк-титанового колпака на дымоход предусматривает по тем же причинам использование только оцинкованных метизов. Цинк-титан – новый сплав, который недавно использовался только для изготовления кровельных материалов, но сегодня многие кампании стали производить из него и колпаки на дымоход. Они имеют полувековой срок гарантии и цену гораздо меньше, чем у медных. Устанавливать на трубу колпаки из остальных материалов можно обычными метизами, хотя лучше все-таки брать те, которые не поддаются окислению и разрушению: большая часть флюгарок служить может десятилетиями, а лезть на крышу потому что ее сорвало ветром из-за разрушившегося крепления — не самое приятное времяпровождение. Если говорить о кирпичной трубе, то использовать можно или обычные длинные гвозди или нарезные (но их демонтировать практически невозможно), можно воспользоваться дюбелями. В каждом конкретном случае система крепления подбирается исходя из формы и материала трубы, имеющихся отверстий для крепления и т.п.

Кованые колпаки на дымоходы
Самый популярный вид этой продукции – это дымник из нержавейки с полимерным покрытием или без такого. Срок эксплуатации в этом случае составляет 20 лет, но зато и цена намного ниже. Особо популярен вариант с полимерным покрытием – цвет можно подобрать в тон кровли, а если и дизайн будет в стиле кровли, смотрится такой вариант замечательно.
Что ставить в оголовке дымохода зонт или дефлектор?
По строительным нормам дефлектор на выход газовых котлов ставить нельзя. Это связано с тем, что в зимнее время из-за низких температур выходного потока на горизонтальных участках трубы образуются сосульки, ухудшающие тягу. Дефлектор же такую картину только усугубляет. Потому на выходы газовых котлов ставят только простые зонты для защиты от попадания мусора и осадков.
Аэродинамический колпаки на дымоход. Один из вариантов
Дефлекторы специалисты рекомендуют устанавливать на металлическую трубу котлов, работающих на твердом топливе. Во всех остальных вариантах рекомендованы колпаки на дымоходы. Форма колпака выбирается в соответствии с формой дымохода: на круглые обычно ставят круглые зонты, на квадратные и прямоугольные – в виде небольшой скатной крыши. Нужно учесть, что на дымоходах-сэндвичах дымники должны иметь специальную юбку, которая будет закрывать теплоизоляцию. Для кирпичных дымоходов рекомендуется делать колпак с основанием, которое закроет все кирпичи, выступающие над кровлей.
Не очень хорошее отношение у специалистов к флюгерам: постоянная вибрация и немалый вес достаточно быстро разрушают даже капитально построенные трубы. Так что если вы хотели иметь флюгер, хорошо над этим подумайте: он не только неблагоприятно влияет на дымоход, но и сам быстро изнашивается из- за постоянного трения.
Как сделать грибок на трубу своими руками
Самостоятельное изготовление колпака на дымоход – дело нелегкое. Если у вас нет особого опыта в этой области, можно для начала перенести чертеж на лист картона, вырезать его и продумать способы соединения и крепления. После того, как картина станет более-менее ясной, можно вырезать части из металла и приступать к сборке. Очень важно измерить дымоход точно и строго придерживаться измеренных величин при изготовлении.
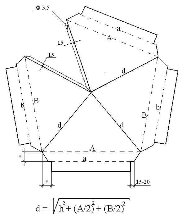
Вот один из чертежей дымника в виде небольшой скатной крыши. Угол определяется по формуле, которая указана на первом листе.

Чертеж колпака на дымоход

Чертеж колпака на дымоход
Порядок действий такой:
- Заготовку из металла положить на стол лицевой стороной вверх, в указанном на чертеже месте, просверлить отверстие диаметром 3,5мм.
- Погнуть деталь по всем пунктирным линиям на 90 о. Для этого лучше использовать листогиб. Тогда линии получатся четкие, без вмятин. Если такого устройства нет, придется применять подручные средства: кусок уголка закрепить на верстаке полкой вверх. Чтобы можно было согнуть сразу всю (или почти всю) линию, можно воспользоваться бруском.
- Погнуть деталь по линиям «d». Угол определяется экспериментально: должен получиться цельный колпак. Конструкция должна быть ровной, без перекосов (поставьте ее на стол, чтобы проверить). Если все «сошлось», наметьте на нижнем ребре жесткости маркером точку через просверленное отверстие, накерните будущее отверстие, затем просверлите.
- Соедините колпак и зафиксируйте заклепкой 3,2мм.
- По линиям «а» и «b» подогните все так, чтобы можно было установить ножки.
- По внешнему периметру трубы изготовьте основание колпака из уголков. Уголки располагайте так, чтобы один край упирался в кладку, а второй был сбоку. Подготовьте «ножки» для колпака. Соединяют все при помощи сварки.
- Готовое основание нужно зачистить, покрыть антикоррозионным составом, затем покрасить в несколько слоев краской для наружных работ.
- Соединить колпак с основанием.
Если изготовление квадратного дымника кажется вам сложным, может такой вариант будет легче. Его реализация будет совсем простой, если у вас есть кусок изогнутого листового металла подходящего размера. Если же имеется обычный лист, можно согнуть его на специальном устройстве (обычно есть у жестянщиков).

Дымник для изготовления своими руками
Порядок работы такой: готовите основание колпака из уголка по результатам измерений вашего дымохода. Уголок располагаете так, чтобы конструкция хорошо держалась: одно ребро опирается на край дымохода, другое охватывает его снаружи. Изготовьте ножки, которые будут поддерживать колпак и соединять его с основанием. Делайте их достаточно мощными, чтобы они могли противостоять ветровым нагрузкам и выдерживать снежную массу. Все части обработайте антикоррозионным составом и покрасьте. Соберите конструкцию в единое целое. Метод сбора зависит от материала.
Вот пример того, как изготовить дефлектор на металлическую трубу. У автора этого видео он установлен на вентиляционной трубе подвала, хотя подобную конструкцию можно использовать на металлической трубе от котла на твердом топливе.
В этом видео изготовление обычного зонта на трубу.
teplowood.ru
Колпак на дымоход, флюгарка и дефлектор
Содержание статьи:

Основной задачей дымоходной трубы является отвод продуктов горения от отопительного прибора. Чтобы печь хорошо горела и не дымила, требуется соблюсти несколько условий:
- объем топки и сечение дымохода должны соответствовать друг другу;
- длина дымохода должна создавать устойчивую тягу;
- различные атмосферные явления не должны создавать помех тяге.
Для решения последней проблемы надевается колпак на дымоход, он препятствует попаданию в трубу дождя, снега, мусора, а также регулирует тягу в соответствии с направлением ветра. Кроме того, он может служить дополнительным декоративным элементом, как на фото.
Немного справочной информации
Как правило, под словосочетанием «колпак на дымоход» имеется в виду некая конструкция, его венчающая. Но дело в том, что в строительной терминологии колпаком называется специальная накладка из жести на кирпичной трубе, над которой крепится некое сооружение, оно может носить название флюгарки или зонта. Чем одно отличается от другого? Зонтом или козырьком называют крышку, имеющую разную форму, но позволяющую выходить дыму во все стороны. Козырек на трубу дымохода может быть двускатным, шатровым, вальмовым, полукруглым. Он только защищает трубу от попадания в нее осадков и мусора. Его конструкция должна позволять проводить периодическую чистку трубы, для чего в зонтах предусматривают съемные детали. Нужно отметить, что отечественные СНиПы отрицательно относятся к зонтам, так как искры, попадающие в зонт, меняют траекторию движения и гарантированно падают на крышу. Если у вас на кровле лежит шифер, натуральная черепица или металл, то большой проблемы не будет, а вот любой другой кровельный материал может загореться от упавшей искры. Кроме того, установленный зонт на дымоход осаждает конденсат на внутренней поверхности, поскольку она будет иметь ту же температуру, что и окружающая среда, а дым, выходящий из трубы, будет явно горячее. Поэтому нужно заказывать зонт с капельником, по которому конденсат будет отводиться за пределы трубы, а не стекать внутрь нее. Но что касается колпака, который защищает оголовок дымохода от разрушения, то против него нормативная строительная документация ничего не имеет.
Флюгаркой называется конструкция, которая имеет способность вращаться под действием ветра и таким образом регулировать тягу в трубе в зависимости от его направления. Чаще всего флюгарки ставят на сложных крышах, поскольку задувает дым в трубу поток воздуха с противоположного ската, при этом флюгарка разворачивается и позволяет беспрепятственно выходить дыму вдоль одной из осей трубы. Кроме того, флюгарка, так же как и зонт, защищает трубу от атмосферных осадков. Как делается флюгарка на дымоход своими руками, можно посмотреть на видео:
Как утверждают специалисты, на кирпичные трубы обычно ставят либо только колпаки, либо колпаки с козырьками, поскольку этот материал способен впитать в себя достаточное количество влаги, прежде чем она протечет на печь. На металлические трубы, по поверхности которых вода будет стекать внутрь почти беспрепятственно, ставятся колпаки с зонтами или дефлектор для дымохода.
Принцип работы дефлектора на дымоходах
Дефлектор конструкции ЦАГИДефлектором называют специальную конструкцию, которая служит для улучшения тяги, создавая разряжение в трубе. Существуют несколько инженерных решений, разработчики которых дали названия дефлекторам: ЦАГИ (сконструированный 50 лет назад), Ханженкова (усовершенствованный ЦАГИ, который в свое время Ханженков и проектировал), Григоровича, Astato, Вольперта и др. Дефлектор для дымохода ЦАГИ ГОСТ 15150-69 может иметь квадратное или круглое поперечное сечение. Работает данная конструкция следующим образом: над трубой (1) установлен диффузор (2), который необходим для уменьшения сопротивления выходу продуктов горения. Над диффузором располагается колпак (3), защищающий всю конструкцию от влаги. Когда дует ветер, над дефлектором создается зона разреженного воздуха, которая позволяет дыму из трубы проходить сквозь кольцевые зазоры между конусом (5) и обечайкой (4), а также между колпаком и обечайкой.
Дефлектор конструкции ВольпертаДефлектор для дымохода конструкции Вольперта состоит из нижнего цилиндрического стакана и верхней насадки в виде усеченного конуса, см. фото. Закрывается верхняя часть специальной крышкой. При помощи кольцевых отбоев поток отработанных продуктов горения выводится через нижние отверстия, а горизонтальный поток воздуха, проходя через крышку с отверстиями, создает необходимое разрежение. Дефлектор конструкции фирмы ASTATO имеет тарельчатую конструкцию, этот грибок на дымоход заслужил отличные рекомендации экспертов, которые в начале 2000 годов проводили его испытания в аэродинамической трубе. Но к сожалению, стоимость данного дефлектора гораздо выше, чем его российские аналоги.
Некоторые особенности использования дефлекторов и колпаков
Сразу же нужно сказать, что устанавливать дефлекторы на дымоходы газовых котлов нельзя по строительным правилам, низкая температура выходящих газов зимой приводит к тому, что выходной горизонтальный участок дымохода обледеневает, а дефлектор только усилит данную тенденцию. Но даже если от вашего газового котла отходит негоризонтальный дымоход коаксиального типа, это ничего не меняет, поэтому на вертикальные коаксиальные дымоходы ставятся только простые зонты для защиты от атмосферных осадков и мусора. Также эксперты не слишком жалуют флюгера по той причине, что их вращающиеся части быстро выходят из строя под воздействием едких продуктов горения, так же как и дефлекторы обледеневают из-за конденсата зимой, расшатывают кладку кирпичных труб под воздействием ветра. Тем более что флюгер на дымоход обычно изготавливается из чугуна или стали и имеет довольно серьезный собственный вес. Таким образом, наиболее предпочтительным выходом для усиления тяги и защиты от мусора и природных факторов металлических труб твердотопливных агрегатов являются дефлекторы, а для вертикальных дымоходов газовых котлов и защиты кирпичных труб лучше использовать обычный козырек на дымоход. Форму козырька будет определять сечение трубы: для круглого дымохода он будет круглым, а для квадратной или прямоугольной трубы — в виде мини-крыши, с капельником. В дополнение нужно сказать, что зонты для металлических сэндвич-дымоходов имеют специальную «юбку», которая предназначена для защиты теплоизоляции на выходе трубы. А для кирпичных труб выпускаются колпаки с обрамлением, которые закрывают всю поверхность трубы, поднимающейся над крышей.
ukroem.ru
производство и установка зонта, козырька
Красивый архитектурный элемент, по которому невооруженным глазом сразу видно ценителей тонкого вкуса и любителей всего прекрасного. Венчающий дымоход, он несет в себе отпечаток древности и элемент современности. Его пользу тяжело переоценить и как эстетическую и как функциональную. Порой его можно, не опасаясь, принять за элемент искусства. А называется такое изобретение человечества – флюгарка, дефлектор, дымник или просто колпак на трубу дымохода.
Производство дымоходов начинается с проектирования и выбора материала, а завершается размещением на его вершине колпака. Колпак на трубу дымохода придает крыше оригинальности, а дымоходу – завершенности. Кроме того, флюгарка обеспечивает вашему дымоходу необходимую защиту. Так давайте попробуем разобраться, какие же еще функции играет флюгарка и так ли она необходима?
Предназначение колпака на трубу дымохода
Все мы играем в этой жизни свою роль. Вот и флюгарка необходима для того, чтобы усиливать тягу, отклоняя воздушные потоки и тем самым поддерживая яркое пламя и тепло в вашем домашнем очаге. Кроме того, дефлектор также защищает дымоход от таких атмосферных и климатических явлений как косые дожди и снегопады.
Древние традиции востока гласят, что дымоходная труба является верхними воротами дома, а потому требует не меньшей защиты, чем входная дверь.
Благодаря колпаку на трубу дымохода вы сможете избежать попадания в него мусора, птиц и их гнезд. Именно для этого и устанавливается сетка, препятствующая нежелательному засорению, но беспрепятственно пропускающая дым из дымохода.
Давайте перечислим все функции колпака на трубу дымохода:
- Функция усиления тяги в дымоходе;
- До 20% более высокое КПД трубы вашего дымохода;
- Защитная функция от мусора и погодных условий;
- Препятствие разрушению дымохода из кирпичной кладки.
Лучшей тягой обладают дымоходы с трубой, имеющей ряд оборотов, а не с трубой с прямым ходом.
Как устроен колпак на трубу дымохода?
Колпак на трубу дымоходаКак и все этом мире, флюгарка имеет не только свои функции, но и особое устройство, которое позволяет эти задачи ей выполнять. Чаще всего можно встретить флюгарки из двух типов составляющих:
- Зонт на трубу дымохода или крышка, которая играет основную роль в защитной функции колпака.
- Отвод для воды или, называемый иначе, капельник, за счет которого отводится влага, стекающая по верхней части вашей дымоходной трубы. В зимний период это позволяет уменьшить образование наледи на дымоходе.
Как можно увидеть, устройство достаточно нехитрое. Главное: правильное соблюдение всех пропорций и качество материала, из которого будет изготовлен колпак на дымоход.
Немного о материалах
При изготовлении флюгарки на современном рынке производители чаще всего используют следующие виды материалов:
- Медь.
- Нержавеющая сталь.
- Оцинкованное железо.
Не забывайте о том, что располагается колпак на дымоход в труднодоступном месте. Именно поэтому стоит столь тщательно подбирать материал, из которого он будет изготовлен. Ведь именно флюгарка будет защищать качество пламени в камине долгими зимними вечерами и вряд ли вам бы хотелось, чтобы огонь внезапно погас лишь из-за того, что вы решили сэкономить на качестве и выбранный материал не выдержал климатических условий.
Если верить специалистам, то лучшими качествами, среди представленных материалов, обладают колпаки из меди.
Все разнообразие флюгарок
Сегодня мастера предлагают нам от стандартизированных колпаков до самых необычных уникальных и выполненных под заказ. Разбирать каждый из них просто не имеет смысла. Давай рассмотрим основные категории колпаков:
- Стандартный колпак на дымоход. Похож на четырехскатную крышу домика. Один из наиболее часто встречающихся.
- Зонт на дымоход. Имеет конусообразную форму.
- Флюгарка с плоским навершием.
- Колпак с навершием полукруглым.
- Колпак на дымоход с щипцовой крышей. В этом случае на трубу приходится по два ската.
- Колпак с флюгером на вершине дымохода. Имеет наибольший простор для воплощения ваших фантазий.
- Колпак на дымоход открывающейся крышкой.
Различные конструкционные особенности и различный материал придают флюгаркам лишь некоторые отличительные черты и дополнительные характеристики. В остальном же все они выполняют одинаковые функции и играют одинаковую роль. При выборе формы важно скорее чувство вкуса. Здесь сложно сказать, что одна из конструкций будет намного лучше всех остальных.
Виды колпаков на дымоходПлоские навершия из меди, например, чаще всего устанавливают на дома в стиле модерн. Европейский стиль домов лучше всего сочетается с полукруглыми колпаками. Колпаки с щипцовой крышей лучше всего устанавливать в заснеженных регионах, где количество осадков зимой превышает среднее.
Флюгарки с флюгером также хороши тем, что их конструкция позволяет установить специально для этого предназначенную заслонку и во время сильного ветра беспрепятственно покидать продуктам сгорания трубу вашего дымохода, не загрязняя ее. Это означает, что вам реже придется чистить ваш дымоход.
Возвращаясь к чистке, следуют отметить, что дымник с открывающейся крышкой будет удобнее всего в этом плане, ведь позволяет выполнить чистку беспрепятственно, потому как не загораживает дымоходную трубу в открытом состоянии.
Почему трубы задымляются?
Когда усиливается порывистый ветер, то начинается неприятный для владельцев процесс задувания в дымоходную трубу холодного воздуха. В результате этого на выходящий дым создается давление, тяга начинает существенно падать и все больше дыма так и не покидает дымоходную трубу, оставаясь там в немалом количестве.
Почему такое может происходить? Есть как минимум два объяснения:
- Диаметр трубы дымохода изначально выбран неверно.
- Труба дымохода размещена неправильно и высота трубы на крыше слишком недостаточна.
Как работает колпак для дымохода?
Поток воздуха ударяется о стенку верхнего цилиндра, огибая его при этом со всех боков.
Скользя по поверхности цилиндра, струя воздуха заворачивает наверх, в это время, подсасывая дым, который выходит из трубы.
Когда воздух движется внутри трубы, то усиливается его интенсивность, за счет чего происходит и увеличение тяги, что особенно важно, если у вас газовый дымоход.
Если потоки ветра направлены под углом или вертикально, а не по горизонтали, то колпак тоже выполняет свою роль по увеличению тяги. Проникая через зазор в верхний цилиндр, потоки ветра выполняют подсасывание дыма в трубу.
Если ветер под колпаком низовой, то может начаться образование вихрей, замедляющих выход дыма.
В случае низового ветра отражать воздушные потоки с дымом, рассекать и выводить их наружу помогает установленный обратный конус.
Уделите максимум своего внимания выбору и монтажу флюгарки. Не забывайте, что успешную работу вашего дымохода начинает правильное составление проекта и выбор материала, а заканчивает козырек на трубу дымохода, который ничуть не менее важен. Выполнив все требования один раз, вы сможете наслаждаться ровным движением пламени в очаге долгие годы, лишь время от времени поддерживая чистоту и порядок.
Оцените статью: Поделитесь с друзьями!roof-tops.ru
Колпак на трубу дымохода: задачи, виды и установка
Котельное или печное отопление в доме предусматривает установку дымохода, который в большинстве случаев ведет на крышу. Обязательной частью трубы дымохода является колпак, который устанавливается на конец дымохода. Его еще называют зонтом, козырьком, флюгаркой или крышкой, которая может иметь различную форму, размер и конструкцию.

В строительных магазинах продаются готовые изделия из листовой оцинкованной стали, которые можно сразу устанавливать на оголовок дымохода. Но любой человек, обладающий минимальными навыками работы с металлом, может изготовить колпак на трубу самостоятельно.
Нужен ли колпак на трубу дымохода
Многим кажется очевидным, что колпак на трубе необходим.

Основная задача приспособления не ограничивается только защитой дымохода от осадков, пыли и мусора. Функции зонта для трубы включают в себя:
- защита от т.н. опрокидывания тяги – задувания дыма обратно в трубу при сильном ветре;
- защита от проникновения птиц и мелких животных в дымоход;
- продление срока службы кирпичной или стальной трубы;
- украшение дымохода.

Главная роль колпака очевидна – он защищает дымоход от проникновения атмосферной влаги внутрь системы отопления, что крайне нежелательно и негативно сказывается на работе котельного оборудования.
Но есть и контраргументы против установки колпака:
- конструкция может мешать отведению дыма и продуктов горения из дымохода, будучи препятствием на пути воздушного потока;
- колпак может уменьшать тягу в трубе;
- из-за наличия водяного пара в отработанных газах в зимнее время на козырьке образуется наледь, и продукты горения не выходят наружу, а возвращаются обратно по трубе в концентрированном состоянии, отравляя воздух в помещении.
Колпак на трубе дымохода не помешает, при условии, что он будет правильно подобран и установлен с учетом требований СНиП и техники безопасности.
Хотя некоторые современные виды дымоходов предусматривают специальные устройства для отвода влаги и конденсата, установка флюгарки на трубу позволит защитить дымоход от засорения и попадания птиц в отверстие трубы.
Важно! Колпак из металла – не вечная конструкция. При постоянном воздействии высокой температуры и кислотных компонентов в продуктах сгорания топлива, тонкая листовая сталь быстро разрушается. В зависимости от устройства насадку на трубу приходится менять раз в несколько лет.
Принцип работы колпака
Принцип работы колпака ясен: он создает механическое препятствие атмосферной влаге, осадкам, ветру, частицам в воздухе, листьям. Форма защитного элемента обычно коническая или пирамидальная, т.е. скатная. Это обеспечивает свободное стекание воды с колпака на крышу в обход отверстия дымохода.

Для этого устройство колпака предусмотрено таким образом, чтобы диаметр колпака превышал диаметр трубы. Основание козырька – фартук-капельник — частично закрывает устье трубы, препятствуя опрокидыванию тяги.
Разновидности колпаков
Независимо от типа котельного оборудования, все колпаки на дымоходах делятся на разные типы по форме:
- двускатные;
- пирамидальные;
- конические;
- вальмовые;
- шпилеобразные;
- плоские.

Большинство приспособлений по внешнему виду напоминают скворечник или маленький домик без стен с крышей на небольших опорах и основанием для установки на оголовок трубы. Разные производители предлагают флюгарки с различными функциональными элементами — сетчатыми перегородками для защиты от птиц, заслонками, смотровыми окошками, дверцами.
Существует отдельная разновидность колпаков на трубу дымоходов – дефлекторы. Это функциональные устройства, предназначенные для усиления тяги за счет создания области низкого давления в верхней части трубы.

Дефлекторы представляют собой более сложную конструкцию, имеющую несколько разновидностей, в том числе ротационные мини-турбины из листовой стали. Дефлектор улучшает производительность котельного оборудования на 20%.
Какой именно флюгарок установить на дымоход, зависит от КПД котла, вида используемого топлива.
Это важно! При выборе конструкции необходимо учитывать требования безопасности. Например, высокомощные котлы с КПД более 85% нежелательно закрывать обычной конусовидной конструкцией. Лучше установить на него дефлектор или открытую насадку для свободного выхода отработанных газов.?
Для печного оборудования, работающих на твердом топливе, можно использовать колпаки практически любого типа – конические, пирамидальные, вальмовые. Важно предусмотреть дополнительную защиту от разъедающего воздействия продуктов горения на сталь, установив еще один лист из нержавейки внутри конструкции.
Как изготовить колпак своими руками?
Несмотря на ограниченный срок службы, колпаки рекомендуется изготавливать из прочной оцинкованной листовой стали. Это несложная работа, с которой может справиться любой человек с простым набором инструментов.

Предварительно нужно измерить диаметр оголовка трубы, на которую будет крепиться защитный колпак. В зависимости от выбранного типа конструкции, нужно набросать на бумаге примерный эскиз флюгарки – двускатного, конического или вальмового типа.

Необходимо придерживаться основных правил в обустройстве защитного элемента для дымохода:
- верхняя часть конструкции – зонтик или крышка – должна быть больше трубы на 10 см, чтобы выступала на 5 см со всех сторон;
- расстояние между оголовком трубы дымохода до грибка должно быть как минимум 10 см, в противном случае дыму и отработанным газам будет сложно выходить наружу;
- наклон стенок грибка или крышки должен быть под углом от 30 до 45 градусов;
- насадка должна легко надеваться на оголовок трубы, поэтому необходимо оставить зазор добавив к эскизу еще 3-4 мм.
Алгоритм изготовления флюгарки на примере простой конической конструкции на узких кронштейнах:
- Перед работой с листовым металлом необходимо сделать шаблон на картоне в масштабе 1:1. Простая пирамидальная конструкция предполагает разделение лекала на 4 одинаковых треугольников, соединенных вершинами.
- Буквой «d» отметьте высоту каждой вертикальной стороны треугольников, буквой «В» — длину их основания.
- В чертеже должен быть предусмотрено расстояние между двумя из четырех сторон пирамиды, которые нужно будет соединить.
- Для соединения сторон нужно сделать дополнительные отрезки со сгибом высотой до 15 мм, в которых просверливаются отверстия для установки заклепок.
- В основании всех треугольников нужно дорисовать стороны, соответствующие форме прямоугольной насадки дымника.
- Пунктиром необходимо разметить линии сгибов.
- Готовое лекало следует приложить к листу оцинкованной или нержавеющей стали, и вырезать по форме с помощью ножниц или ножа по металлу.
- По линиям сгибов на картоне необходимо осторожно провести лезвием, чтобы оставить продавленные следы на металлическом листе. Полученные линии будут служить ориентиром для сгибов.
- С помощью дрели нужно высверлить отверстия для заклепок на двух сторонах заготовки.
- Металл сгибают с помощью специального листогиба, чтобы получилась форма пирамиды. Соединяемые детали конструкции фиксируют заклепками.
- Верхняя защитная часть готова. Теперь нужно изготовить кронштейны из металлических пластин и приварить их к грибку. На место сварки наносится грунтовка, а колпак покрывают антикоррозийной краской. Готовые ножки конструкции крепят к металлическому основанию, которое предварительно изготавливают из пластин металла по диаметру оголовка трубы.

Рекомендации по установке
Важно правильно рассчитать высоту и диаметр колпака, высота которого должна быть не менее 10 см от среза трубы.
Установка готового колпака на крышу выполняется достаточно просто, если соблюдать технику безопасности.

Конструкция должна надеваться на трубу дымохода, а не входить в него. Если оставить небольшой зазор до 3-4 мм, то колпак легко сядет на оголовок. Если насадка сидит плотно, не колеблется при порывах ветра, укреплять ее не нужно. В противном случае используется глиняный или клеевой раствор для дополнительной фиксации насадки на трубе.
infotruby.ru
Колпак на трубу дымохода: изготовление своими руками
Целесообразность установки на дымоход колпака до сих пор вызывает споры не только у владельцев домов, но и у опытных строителей. Среди них есть как противники, так и приверженцы этих элементов, каждая группа имеет свои аргументы. Рассмотрим их более подробно, это даст возможность иметь личное объективное мнение.

Колпак на трубу дымохода
Аргументы за установку колпака на трубу дымохода
- Заключительный элемент трубы уменьшает риски появления обратной тяги из-за завихрения воздушных потоков. Они ударяются о колпак и растекаются мимо выхода трубы, показатели тяги стабилизируются в расчетных пределах.
- Конструкция эффективно защищает дымоход от попадания дождя и снега, листьев и иного органического мусора. Кроме того, колпаки отпугивают птиц от кирпичных дымоходов и не позволяют им вить в них гнезда.

Основной функцией колпака является защита дымоходной трубы от влаги
- Оголовок трубы не подвергается негативному воздействию климатических факторов. За счет чего увеличивается время его эксплуатации.
- Красивый колпак может служить привлекательным элементом декора крыши здания, указывать направление и скорость ветра.

Красивый колпак на дымоход придает всей кровле эстетичный вид, соответственно, дом с такой крышей выглядит стильно и оригинально
В этот список не вошла рекламная информация, утверждающая, что колпаки значительно усиливают тягу дымоходов. Для этого существуют иные специальные элементы более сложной конструкции.

Для улучшения тяги в дымоход встраиваются дефлекторы
Правильно установленные колпаки не оказывают влияния на параметры тяги. Исключение – они расположены слишком близко к выходу дымохода и уменьшают тягу.
Содержание статьи
Аргументы против установки колпака
Ознакомление с ними усложняет принятие окончательного решения, но о них следует знать. Только полная информация дает возможность сделать оптимальный выбор с учетом максимального количества различных факторов.
Колпак может создавать препятствие тяге
Это предупреждение имеет право на существование только в одном случае – колпак посажен очень низко, размеры щелей по периметру меньше диаметра трубы дымохода. Такое встречается очень редко, никто колпаком сознательно не закрывает дымоход.

Колпак может создавать препятствие тяге только если посажен слишком низко
На колпаке может намерзать конденсат и частично или полностью блокировать отверстие
К сожалению, такие случаи бывают нередко. Все зависит от климатических условий зоны расположения строения, коэффициента полезного действия котла и физических характеристик топлива. Если с первым фактором все понятно, то на двух последних следует остановиться подробнее.
- Строительные нормы и правила строго регламентируют температуру выходящих из дымохода газов. Она не должна быть меньше +120°С, только при таких условиях исключается появление конденсата. Но современные отопительные котлы имеют очень высокий КПД, это значит, что максимальное количество тепловой энергии передается теплообменнику, соответственно, температура выхода газов низкая. Ни один котел не выдерживает рекомендованные значения, все они обогревают внутренние помещения, а не улицу.

Конденсат в дымоходе
Вывод – конденсат будет не только на колпаке, но и на той части дымохода, где температура ниже установленных норм. Это всегда следует учитывать при попытках накрывать дымоходы дополнительными элементами.

Как устранить конденсат в дымоходе
- Количество конденсата зависит от типа и характеристик топлива. Если котел топить влажными дровами, то конденсат придется ежедневно собирать в десятилитровые емкости, а если качественным природным газом, то он почти полностью отсутствует.

Если в печи или камине применяется твердое топливо, важно, чтобы оно было сухим
Вывод. Решение об установке колпака принимайте с учетом вышеописанных факторов, они оказывают решающее влияние на показатели тяги и могут становиться причиной возникновения крайне опасных ситуаций.
Колпаки быстро прогорают, их приходится часто менять
Если изделия сделаны из некачественного и незащищенного от коррозии металла, то да, срок их службы не превышает 3–5 лет. Но сегодня в таких целях применяется или оцинкованная или легированная тонколистовая сталь. Время эксплуатации качественной нержавейки практические неограничен.

Колпаки из нержавейки имеют длительный срок службы
Что требуют нормативные документы
Здесь в каждой стране свои правила, объясняется такое положение тем, что даже среди инженеров нет единого мнения относительно целесообразности установки колпаков на дымоходные трубы.
- Европейские страны разрешают устанавливать такие колпаки только на вентиляционные трубы, на дымоходы их монтировать запрещается. Аргументация простая – кратковременные проблемы с вентиляцией помещений не становятся причиной опасных последствий для здоровья проживающих. Что касается удаления продуктов горения, то здесь все очень серьезно, из-за нарушения параметров тяги котла могут быть трагические чрезвычайные происшествия.

Труба дымохода на фото не закрыта колпаком или дефлектором. Дом в одной из европейских стран
- Украина запрещает устанавливать колпаки лишь на дымоходы газовых отопительных котлов, для остальных ограничений нет. Причина такой избирательности простая. Только дым от природного газа не имеет запаха, при отсутствии тяги намного легче отравиться угарными газами. Дым от твердотопливных котлов имеет резкий запах. Кроме того, в нем есть довольно много сажи, что делает его видимым. Такие физические характеристики дают возможность быстро заметить проблемы с тягой и своевременно принять меры по их ликвидации.

Частный дом в Киеве. Трубы с колпаками
- Россия и Беларусь поступают намного хитрее, у них всегда виноватыми будут пользователи. Почему? В СНиП прописано следующее положение: «Зонты, дефлекторы иные насадки не могут препятствовать выходу из дымоходов продуктов горения». И все. Устанавливать их или нет, решают потребители. Если все в норме – отлично, если есть какие-либо последствия – чиновники не виноваты, виноваты владельцы домов.

Частный дом в России. Трубы с колпаками
Как поступать? Однозначного ответа нет, но есть несколько практических советов, которые помогут принять правильное решение.
Устанавливать колпак или нет
Рассмотрим несколько рекомендаций строителей и инженеров, они касаются индивидуальных случаев и учитывают технические параметры отопительных котлов и дымоходов.
| Вид дымохода | Практические рекомендации |
|---|---|
Нержавеющие стальные трубы круглого сечения | Такие дымоходы сегодня монтируются с современными высокоэффективными котлами на различных видах топлива. КПД устройств не ниже 85%. Опытные строители настоятельно не рекомендуют их накрывать колпаками. Птицы в любом случае в нержавеющих трубах гнезда не делают, а для конденсата каждая система имеет специальный приемник, туда же попадают и атмосферные осадки. Для уменьшения их количества можно воспользоваться конусной насадкой с открытым соплом. Она никогда не замерзает и уменьшает количество попадающей воды в дымоход. |
Одинарные кирпичные дымоходы | Это самые сложные с точки зрения строителей дымоходы, требуют много времени на обустройство. Но по эффективности и эксплуатационным показателям намного уступают современным моделям. Кирпич очень боится влаги, конденсат на его стенках быстро разрушает целостность конструкции. Постепенно кладка сыпется и уменьшает эффективный просвет. Кроме того, одновременно понижаются характеристики стенок – увеличивается сопротивление воздушным потокам и уменьшаются значения тяги. Такие дымоходы рекомендуется накрывать большими колпаками, защищающими максимальную площадь оголовка. Конкретные инженерные решения могут быть различными, но всегда следует выполнять несколько условий. Первое – колпак не должен уменьшать тягу из котла. Второе – если на нем появляется конденсат, то он должен скапывать мимо дымохода. Для этого требуются увеличенные размеры защиты. |
Дымоходные блоки, включающие в себя как дымоходные, так и вентиляционные каналы | Довольно сложная ситуация, каждое отверстие имеет свои параметры. К таким конструкциям могут подключаться отопительные котлы с различными техническими параметрами и вентиляционные системы. Профессионалы рекомендуют накрывать большие дымоходные блоки двускатными или вальмовыми колпаками. Они должны защищать только верхние плоскости кирпичных сооружений от негативного влияния атмосферных факторов, но никак не влиять на потоки угарных газов или воздушной вентиляции. |
Это общие советы, их рекомендуется учитывать во время принятия окончательного решения.
Пошаговая инструкция изготовления простейшего колпака
Исходные данные: труба дымохода из нержавейки Ø 120 мм, котел твердотопливный, колпак изготавливается из оцинкованной и окрашенной полимерной краской листовой стали толщиной 0,45 мм.

Труба дымохода из нержавейки
Мы рассмотрим самый простой, но очень эффективный вариант колпака. Сделать его можно в домашних условиях без использования специальных инструментов и оборудования, имеющегося у профессиональных жестянщиков.
Шаг 1. Определитесь с диаметром колпака. Практики рекомендуют, чтобы его края выступали за периметр трубы не менее чем по 10 см с каждой стороны. Имея это значение можно узнать диаметр круга, который надо вырезать из металла.

Круг вычерчивают на листе металла
Расчеты делаются таким образом.
- К диаметру трубы прибавьте величину свеса колпака с каждой стороны. В нашем случае диметр трубы 120 мм, к этому значению прибавим 200 мм (100 мм+100 мм), получится 320 мм.
- Теперь эту сумму нужно увеличить еще на 50 мм. Это увеличение требуется для компенсации уменьшения размеров на загиб колпака. Дело в том, что он будет иметь форму конуса, а при загибе диаметр плоского круга уменьшается. В нашем случае для изготовления колпака следует вырезать круг радиусом (320+50):2=185 мм.
Конечно, это не настоящие математические расчеты, они намного сложнее. Но для колпака нет надобности точно рассчитывать все размеры, допуски в несколько сантиметров никакой роли не играют.
Практический совет. Можно вырезать круг под конус сразу с удалением сегмента на изгиб. Для этого от радиуса нужно в обе стороны начертить линии длиной 6 см, из точек пересечения с кругом провести линии к центру и вырезать получившийся сегмент круга.

Расчерчивание металла с допуском на изгиб
Если желаете изготавливать более простую конструкцию конуса, то сегмент не вырезайте, а только прорежьте вертикальную линию к центру круга. Во время изгибания лишний металл уйдет в нахлест, в этом месте удобно просверлить отверстия и поставить заклепки.
Шаг 2. Ручными ножницами по металлу вырежьте заготовку, удалите клин из круга.

Вырезанная заготовка
Шаг 3. Сделайте с двух сторон заготовки специальные подгибы для фиксации конуса. Это следует делать в тех случаях, когда для крепления конуса не будут использоваться заклепки. Подгибы нужно делать молотком.

Подгибы для фиксации конуса делают молотком
Высота примерно 0,5 см, наворачивание в противоположные стороны. До конца подгибы не сжимайте, это делается на финишном этапе изготовления конуса. Если работать киянкой сложно, то можно сгибать металл обыкновенными пассатижами. Линия получится не такой ровной, но это не имеет значения. Колпак устанавливается очень высоко на дымоходе, с земли такие незначительные проблемы совсем незаметны.

Подгибать металл можно пассатижами
Шаг 4. Согните конус, осмотрите соединение. Если какие-то части мешают фиксации, то их следует подогнуть или отрезать. Замок должен срабатывать четко по всей длине колпака.

Согнутый конус
Шаг 5. Придайте колпаку форму. Для этого его нужно постепенно сгибать на так называемой правке. Это кусок трубы диаметром ≈ 50 мм, закрепленной в тисках. Постепенно сгибайте круг до того момента, пока он не примет форму конуса. Постоянно проверяйте изделие, слишком перегибать не стоит.

Сгибание колпака
Шаг 6. Соедините замок и склепайте его. Старайтесь, чтобы линия была максимально ровной.

Склепать замок можно киянкой
На этом самый сложный этап изготовления колпака закончен, можно приступать к подготовке ножек для его фиксации. Вначале изготавливаются сами ножки, для них необходимо иметь три полосы металла шириной примерно 2 см и длиной до 15 см. Для придания ножкам большей жесткости следует по краям сделать фальц.

На ножках делают подгибы — фальц

Изготовление ножки, процесс
К трубе колпак фиксируется хомутом. Его можно купить готовым в специальном магазине или сделать самостоятельно. Второй вариант потребует больше времени, но зато конструкция имеет законченный дизайн в одном стиле.
Последний этап – сделайте разметку мест фиксации ножек к колпаку, высверлите отверстия и закрепите элементы. Для крепления лучше пользоваться заклепками. Такими же метизами крепится нижний конец ножек к хомуту. Теперь осталось закрепить колпак на трубе дымохода.

Крепление ножек

Крепление кольца к ножкам

Колпак на трубе

Фиксация кольца колпака
Заключение
Мы дали инструкцию изготовления самого простого колпака на круглую трубу дымохода. Если есть навыки, инструменты и желание, то можно изготавливать более сложную конструкцию, дополнить ее флюгером или дефлектором, сделать индивидуальные вензеля и т. д. Профессионально изготовленный колпак может стать настоящей декоративной изюминкой крыши.
Видео – Как сделать колпак для дымоходной трубы
krysha-expert.ru
виды и материалы, как сделать своими руками
Закончилась постройка бани, но иногда создается впечатление, что в конструкции чего-то не хватает. И только глядя на дымоход, многие понимают, что не хватает самого впечатляющего элемента – колпака.
Но для начала нужно определить, для чего он нужен, кроме украшения, и не повредит ли эта конструкция тяге. Вот тут и начинается самое интересное.
На первый взгляд, колпак на дымоход предназначен для его защиты от попадания в него посторонних предметов, атмосферных осадков, птиц и мусора.
С точки зрения пожарной безопасности эта конструкция должна помочь, ведь мусор в системе дымоотведения при растопке печки может загореться.
В забитом опавшими листьями дымоходе однозначно снизится тяга. Но это может случиться и из-за наличия зонтика на трубе.
Важно! Зонты, колпаки и другие конструкции снижают тягу, а могут и вызвать явление обратной тяги.
Содержание статьи
Что говорит законодательство
Для того чтобы точно разобраться в этих вопросах, мы обратились к нормативным документам, и выяснили, что СНиП 2.04.05 категорически запрещает установку зонтов на дымоходах.
Но на основании СНиП 41-01-2003, где сказано: п. 6.6.14 – оголовки дымоотводящих систем нужно защищать от осадков, при условии, что колпаки и другие конструкции не должны мешать свободному выводу дыма.
Принимаем решение – ставить!
Защита на систему дымоотведения: польза или вред?
Разобраться со всеми требованиями законодательства и совместить их со своими потребностями и советами специалистов практически нереально. Тогда будем действовать логически: если есть ветер, то в правильно сконструированном прогретом дымоходе есть тяга.
Зонт на дымоход уменьшает пространство между оголовком и колпаком. При уменьшении этого расстояния скорость прохождения воздушных потоков над оголовком увеличится, а значит, и возрастет разряжение. Это только усилит тягу.
Если ветра нет, то тяга образуется из-за разницы давлений между выходом трубы из печи и ее оголовком.
Эти размышления верны только в том случае, если система дымоотведения сконструирована правильно и расстояние между оголовком дымохода и колпака не слишком маленькое.

Выбор защиты
Зонты могут называться по-разному: колпак, дымник, флюгарка, грибок, зонтик. Но суть у всех одинакова.
Нужно определиться, какие виды зонтов на дымоход существуют, каковы их форма и функциональность.
- Колпак на дымовую трубу 4-скатный (флюгарка).
- Зонт на дымоход.
- Колпак (2-скатный) со щипцовой крышей.
- Колпак на оголовок трубы с плоским навершием.
- Флюгарка с открывающейся крышей.
- Колпак с установленным флюгером.
Из всего многообразия нужно выбрать именно такой, который будет наиболее эффективно защищать трубу от мусора и атмосферных осадков, и сам не будет подвергаться коррозии.
При выборе нужно обратить внимание на размеры конструкции. Если прогадать с размерами и зонтик на трубу дымохода приобрести большего сечения, чем нужно, то есть возможность, что установка его станет затруднительной и в итоге он будет слишком опущен. А это грозит возникновением обратной тяги.
Материал для эффективной защиты
К зонту на дымоход предъявляются очень серьезные требования по качеству материала, из которого он изготовлен, ведь на него круглогодично будут воздействовать всевозможные атмосферные явления с одной стороны и раскаленные горячие газы – с другой.
Наиболее популярными материалами для изготовления зонта на дымоход являются:
- Нержавейка. Замечательный материал для покупного колпака. Если изготавливать из нержавейки колпак своими руками, то можно столкнуться с трудностями вырезания заготовок, так как этот материал довольно прочный.
- Медный лист. Мягкий материал, который продемонстрировал наилучшие показатели стойкости против влаги и повышенных температур. Но стоимость защитного зонта из этого материала немалая.
- Оцинкованный лист. Он мягкий, хорошо гнется и режется, имеет неплохие антикоррозийные свойства. Сделать из него колпак на дымоход или зонт самой замысловатой конструкции сможет практически любой домашний мастер. Все эти материалы имеют как достоинства, так и недостатки, но изготавливать или покупать такую конструкцию из других материалов специалисты не рекомендуют.

Как самостоятельно изготовить защиту на оголовок трубы
Как мы уже говорили выше, сделать своими руками хороший зонт для дымовой трубы сможет практически любой человек, который знаком с азами черчения и умеет держать в руках инструмент. И прежде всего нужно определить форму будущего изделия.
Если дымоход кирпичный, то форма защиты будет квадратная или прямоугольная, а если дымоход имеет круглое сечение, то делать нужно зонт такой же формы.
Мы рассмотрим изготовление простейшего круглого колпака.
Для этого вам потребуется инструмент:
- Линейка и циркуль. Если своих нет, можно попросить их у школьников.
- Ножницы по металлу.
- Маркер, лучше на спиртовой основе, чтобы не размазывался по материалу.
- Дрель со сверлом.
- Заклепочная машинка.
- Хомут, имеющий диаметр дымохода.

Из материалов вам нужно будет приобрести лист оцинковки и заклепки на заклепочный пистолет.
- Делаем чертеж. Он состоит из 3 полос, каждая имеет 20 см в длину и 2 см в ширину, и круга, диаметр которого будет на 10-15 см больше внешнего диаметра дымовой трубы. От центра круга до его края проводим линию радиуса, после чего от центра круга проведите вторую линию, образующую сегмент с углом в 30⁰-45⁰.
- Переносим чертеж на лист оцинковки и вырезаем детали с помощью ножниц по металлу. Соблюдайте технику безопасности. Пользуйтесь защитными перчатками.
- Вырежьте сегмент из круга и сверните заготовку конусом. В месте нахлеста просверлите несколько отверстий и скрепите заготовку заклепками.
- С внутренней части конуса приложите полосы стойки с трех сторон и закрепите их заклепками.
- Установите на оголовок трубы изготовленную защиту и зафиксируйте ее на трубе хомутом. Следите за тем, чтобы расстояние между оголовком дымохода и краем зонта было не менее 10 см.
Правильно изготовленный колпак защитит материал дымохода, увеличит тягу и станет прекрасным украшением вашей постройки, будь то частный дом или небольшая баня.
sdelatbanyu.ru
Колпак на дымоход (зонт на трубу, козырек) своими руками
Краткое содержание
Колпаки на дымоход
Дымовая труба, научное название которой дефлектор, венчает на себе металлический зонт (колпак, оголовок), который чаще всего изготавливают из обычной жести, в редких случаях изделие может быть из меди. Колпак на дымоход состоит из двух частей.

Виды дымников
Сделать его своими руками хорошему жестянщику не составит никакого труда, от силы — полдня работы, при условии, что есть все необходимые принадлежности и инструменты: лекало, молотки, клепки, набойки, металлический конус и уголок и т. д. Оголовок в первую очередь способствует созданию нормальной тяги, и его функцию в системе отопления трудно переоценить.
Функции колпака
Правильно одетый колпак на трубу дымохода способен увеличить тягу, в результате усиливается горение топлива, что способствует хорошему прогреву жилища. Еще одна функция, которую выполняет зонт— это препятствие попадания осадков внутрь трубы, также, если грамотно вставлена металлическая сетка, то в дымоход не будут залетать листья, и не устроят гнездо птицы в летнее время. Тем самым можно резюмировать две основные функции оголовка:
- Увеличение тяги, КПД.
- Защита трубы от осадков и загрязнения.
Важно! Следует отметить, что в эффективности любого дымохода главную роль играет длина канала, то есть, чем длиннее и извилистее система, тем лучше будет тяга.
Разновидности зонтов
Виды колпаков
Каждый дымоход должна иметь капельник, который защищает от воды печную трубу (ее наружную сторону), он также препятствует обледенению в зимнее время. Капельник можно сделать своими руками, что предотвратит разрушение кладки, он незаменим, особенно зимой. Капельником называет нижние части крепления зонта на трубе, их можно заранее отбить под некоторым углом, чтобы вода стекала только с определенного места, а не попадала на стенки трубы.
Разновидностей колпаков для дымохода много, если делают зонт своими руками, то получаются оригинальные красивые вещи. В конце статьи будет рассказано, как делают замки, то есть соединяют части конструкции, тогда, включив воображение, вы сможете своими руками собрать и сбить хороший колпак на трубу дымохода. Оголовок может представлять собой четыре ската, два ската и два торца, он может быть похож на обычный зонт с тремя-четырьмя креплениями.
Чертеж двускатного дымника
Также есть полукруглые оголовки с плоскими торцами, которые крепятся к верхней части трубы по периметру, за счет прямоугольного стягивающего зажима (юбка), к которому крепится сам оголовок на четырех жестких профилях.
Изготовление колпаков может быть заводским, что является гарантом качества, также производители делают оголовки по заказу, это может быть эксклюзивный образец, что придает внешнему виду дома особый шарм.
Причины поломок и неэффективной работы
Главной причиной поломок зонта является сильный ветер, и еще при неправильном угле скатов в заснеженных районах, это часто бывает снег. Снег просто может свалить оголовок вместе с трубой.
Причиной неэффективной слабой тяги может также служить низовой ветер, который образует вихри внутри зонтика, в результате ухудшается тяга и может происходить задымление помещения. В таких случаях можно установить обратный конус, который делается чуть меньше основного, и монтируются вершиной вниз. Принцип его работы — рассечение потоков воздуха и выведение дыма наружу.

Флюгарки самостоятельно из листового металла
Флюгарка
Еще одной причиной плохой тяги может быть несоблюдение правил – входа и выхода. Специалисты рекомендуют не делать слишком большой диаметр трубы, также известно, что лучшая тяга бывает тогда, когда входной и выходной проемы одинаковы. То есть, как на дымаре у пчеловода — входное отверстие для воздуха полностью совпадает с подающим дым.
Правильная организация системы печи, в том числе грамотно установленный колпак на дымоход — это, во-первых, безопасность людей и помещения, во-вторых, эффективная работа отопления.
Самостоятельное изготовление и установка зонта — пошаговая инструкция
Чтобы начать работу по изготовлению зонта своими руками, сначала нужно измерить диаметр трубы. Если труба круглая, то делайте хомут. Все можно сделать из обычной оцинкованной жести.
- Вырежьте полоску из жести 7-8 см шириной, длина зависит от диаметра трубы, делайте с запасом, отрезать всегда можно, нежели нарастить.
- Выставите на штангенциркуле 1 см, и прочертите по краям полосы.
- Пробейте молотком на углу рельсы по начертанным полоскам, чтобы легче и ровнее впоследствии согнуть.

Схема дымника
- Выставляйте по метке полосы на углу рельсы и простучите, сделав прямой угол, а потом, полностью завернув, окончательно пробейте. Делайте по очереди каждую сторону.
- Таких деталей сделайте четыре штуки.
- Сделайте из бумаги круглое лекало больше вашей трубы на 15 см, прочертите по центру линию, вырежьте из него минимум 45 градусов. По лекалу отрежьте жесть для зонтика.
- Если вы не умеете делать замок, то склепайте в двух-трех местах зонтик. Таким же образом присоедините к нему три усиленные полоски, внизу которые нужно согнуть.
- Из оставшейся полоски делаем обычный хомут, высверливаем отверстия для болта, крепим к нему зонтик, и колпак на дымоход готов к установке.

Таблица характеристик дымника
Учимся делать замок
Когда работаешь с жестью, часто приходится соединять разные детали, бывает, что сварка не совсем подходит: может прожечь тонкую жесть, а если заклепать, то соединение может пропускать воду. В таких случаях только крепить замком. Своими руками можно сделать два вида замка — это обычный и обратный замки, они принципиально похожи, отличается только заключительное действие — в последнем варианте происходит наоборот. Как сделать обычный замок?

Замки для соединения жести
Выше было указано, что нужно пробить край полосы 1 см, — на замок делаем также, но берем 6-7 мм. Края, которые нужно соединить, пробиваем и делаем прямой угол. Делаем еще одно действие – пробиваем углы еще раз внутрь, но не до конца, а так, чтобы части без проблем зашли и соединились. Дальше просто простукиваем место соединения, особенно «выделяем» сам замок, то есть пробиваем края, так он будет крепче и красивее выглядеть.
Если соблюдать все описанные действия, то можно без особых проблем своими руками сделать отличный козырек на дымоход.
Видео: Как сделать колпак флюгарку дымник
kaminyn.ru










