Машинка для измельчения веток – Садовый измельчитель какой выбрать — полезные рекомендации и обзор моделей
Как правильно выбрать электрический садовый измельчитель веток?
ПОДЕЛИТЕСЬ В СОЦСЕТЯХ
Визиткой придомовой территории и любого двора является ухоженный и красивый сад. Но для создания идеального ландшафта требуется постоянный уход. Ведь спецтехника позволяет упростить работу, при этом на уборку уходит минимум времени. Весьма полезным и удобным устройством является электрический садовый измельчитель веток. Прежде, чем выбрать подходящий вариант, стоит изучить характеристики шредера и понять нужен ли он вообще. Об этом и поговорим далее.

От качества подобного оборудования зависит безопасность садоводов и огородников
Содержание статьи
Для чего нужен измельчитель для садовых работ?
Измельчитель представляет собой прибор, который за несколько минуть измельчает такие отходы, как листья, бурьян и ветки. Тем самым превращает их в органические удобрения. Прежде всего, такое оборудование обеспечивает обработку мусора. К его достоинствам относятся:
- мобильность и возможность транспортировки;
- компактные размеры;
- мощная система измельчения;
- потребляет немного энергии при большой эффективности;
- доступная цена;
- переработанный состав используется для удобрения и быстрее перегнивает.

Подобное оборудование характеризуется разными конструкциями и разными способами запуска
Переработанное сырье можно использовать для мульчи, компостных куч или оборудования теплых грядок. При этом важно, чтобы трава была измельченная. Также подобные агрегаты перерабатывают перезревшие фрукты и овощи, ботву и всевозможные листья.
В устройстве садового электрического измельчителя веток присутствует мотор, который запускает движение ножей. Все шредеры работают:
- от сети. Такие модели отличаются малым весом и их легко можно переставлять;
- от аккумулятора, работают короткое время и характеризуются мобильностью. Эти приборы не зависимы от подачи электричества;
- от бензинового мотора. Это самые мощные конструкции.
Вариант подключения от сетиПолезная информация! Мощность конструкции подбирается в соответствии с размерами участка.
Электрический измельчитель веток садовый: устройство
Покупка садового измельчителя начинается с выбора мотора. Он может быть электрическим или бензиновым. К простым вариантам относится конструкция с электромотором, имеющая массу преимуществ. Это простота в эксплуатации, небольшие габариты и доступная стоимость. К недостаткам можно отнести зависимость от электрической розетки, без которой устройство просто не включится.

Конструкционные особенности простого прибора
Также приборы электрического типа не обладают значительной мощностью. Например, при попадании ветки большой толщины устройство может не обработать его. При выборе измельчителя садового мусора, работающего на бензине, вы можете быть уверены, что такой агрегат в состоянии перемолоть сырье любого размера.

Чертеж установки с двумя валами
Полезная информация! Во время эксплуатации бензинового оборудования понадобится тратить деньги на приобретение топлива.
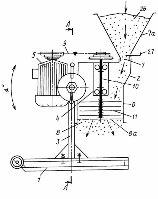
Основные составляющие садового шредера
Чтобы понять, как выбрать садовый измельчитель, нужно разобраться в их разновидностях и понять, как они устроены. Любой агрегат имеет следующую конструкцию:
- бункер;
- приспособления для резки металла;
- приемное устройство.
Составляющие детали садового шредера
Своим устройством измельчитель похож на обычную мясорубку. Сырье помещается в бункер, а затем подается к движущемуся диску.
Механизм измельчения
По способу измельчения отходов, подобное оборудование классифицируется так:
- ножевые оборудуются металлическим диском с закрепленными ножами. Их используют для переработки более мягкого сырья: травы или стеблей;
- фрезерные могут обрабатывать более твердый тип сырья. Таким образом, перемалываются разнообразные породы древесины и сухие ветви. Внутри блока располагается фреза с шестью зубьями;
- универсальные модели совмещают две разновидности режущих механизмов.

Инструменты, которые потребуются для создания шредера своими руками
Катушка в комплекте с лесками используется для перемалывания листвы. Диски с ножами обрабатывают тонкие ветви, листья и траву. Для особо крупных веток устанавливается винтовое приспособление. Таким же образом функционирует и фрезерный барабан.
Как выбрать садовые измельчители?
Чтобы подобрать подходящий вариант, нужно отталкиваться от размеров приусадебной территории. Если на территории располагается несколько деревьев и небольшой газон, то можно приобрести электрический садовый измельчитель веток. При участке более 10 соток лучше купить устройство на бензине.
При выборе модели учитываются следующие критерии:
- качество режущих деталей;
- размер частиц, полученных в результате обработки;
- безопасность при использовании оборудования;
- возможность автоматического отключения прибора;
- мобильность агрегата.

Садовые устройства с ножами
Дополнительный механизм и возможности
Дополнительные возможности имеют большое значение при выборе садового измельчителя. Шредер может дополняться:
- ножи с заточкой с двух сторон или из закаленной стали;
- наличие воронки широкой, наклонной и в виде конуса;
- если нет специального втягивающего механизма, то должен присутствовать специальный толкатель для сырья;
- опция переключения режимов;
- реверс для чистки ножей.

Структура конструкции с фрезой
Комбинированные модели оснащены несколькими отверстиями для переработки разного типа мусора. При выборе, также обратите внимание на уровень шума. Рекомендуемый показатель для частных хозяйств – не более 83 дБ.

Универсальными агрегатами считаются комбинированные конструкции
Полезный совет! При работе с подобным устройством, приобретите специальные защитные очки.
Как подобрать оптимальную мощность?
Можно подбирать модели по уровню мощности. В зависимости от этого фактора садовые измельчители, шредеры бывают следующих типов:
- бытовые модели с коэффициентом перемалывания 1 к 5;
- средний класс измельчает сырье в 8 раз;
- профессиональные агрегаты уменьшают материалы более чем в 10 раз.

Мощные машины используются для территорий от 10 соток и больше
В таблице можно посмотреть, какое оборудование выбрать в зависимости от мощности.
| Мощность | Применение |
|---|---|
| До 1,5 кВт | Аппарат с небольшой мощностью подходит для переработки маленьких деревьев, кустарников, травы и ботвы. |
| До 2,5 кВт | Подобные устройства оснащены стальным валом для резки, поэтому их используют для крупных веток от крупных деревьев. |
| От 3 кВт | Профессиональное оборудование дополняется функцией втягивания веток и режущей фрезой. Также прибор способен прессовать щепу и делать мульчу. Подходит для сада и приусадебной территории большой площади. |
Некоторые владельцы участков предпочитают сделать конструкцию садового шредера своими руками. Самым простым устройством считается вариант из диска с ножами, рамы, двигателя и бункера. Ножи и диски можно приобрести в строительном магазине или сделать заказ у токарей. Привод можно сделать из культиватора, а бункер и раму сварить. Фракция переработанного сырья зависит от количества ножей и их расположения.

Некоторые даже мощные модели отличаются мобильностью
Обзор популярных моделей
В таблице представлены популярные модели шредеров и их стоимость.

Отдельные модели обладают сложным устройством
Чтобы выбрать подходящую модель, необходимо определить какие виды работ требуются для конкретного участка. Для удаления травы, небольших побегов и веток подойдет устройство с небольшой мощностью. К моделям средней мощности можно отнести изделия фирмы Викинг.

Качественные модели отличаются простотой в эксплуатации
Если сад больших размеров, то стоит подобрать более мощный аппарат, например, марки Бош.

Комбинированная модель садового измельчителя
Фрезерный механизм подобного агрегата способен перемалывать крупные ветви, затягивая их внутрь. Чтобы получать переработанное сырье разных форм нужно приобрести измельчитель с опцией регулировки скорости режущего блока. Оптимальным вариантом считается аппарат с двумя отверстиями для более мягких отходов и для твердых веток. В электрических конструкциях должна быть предусмотрена блокировка для скачков напряжения.
Выбираем садовый измельчитель (видео)
ПОДЕЛИТЕСЬ В СОЦСЕТЯХ
Загрузка…aquatic-home.ru
Машинки для измельчения веток | Roslyny.com
Так же, как и пылесосы для сада машинки для измельчения веток (мельницы или шредеры) только начинают пользоваться популярностью среди наших садоводов.
Чем они полезны и на что нужно обращать внимание при покупке?

1.Шредеры для ветвей помогут вам при обрезке зелени кустов и деревьев. Благодаря такой мельнице вы легко и без забот избавитесь кучи веток за несколько секунд. Особенно это важно владельцам больших садов, с бесчисленным количеством деревьев и кустарников.

2.Отходы, которые формируются после измельчения можно использовать для мульчирования растений.

3.При покупке измельчителя нужно знать объем предстоящих работ. В магазинах можно выбрать дизельные или электрические машинки для измельчения с различными возможностями и мощностями. Например, для коттеджного сада, где деревья небольшие, подойдет обычный электрический измельчитель. В свою очередь, для измельчения веток большого диаметра или большого количества следует выбирать дизельный шредер максимальной мощности. Это также полезно для владельцев больших садов, где бывает сложно дотянуться до чего-то с электрическим шнуром.

Полезные приложения и функции
- Модели с функцией втягивания ветвей. Не все шредеры на это способны, но это довольно полезное приложение, потому что ветки будут сами втягиваться в процесс измельчения — вам не нужно будет их подталкивать.

- Корзина для мусора, в который собирается будущая мульча. Она должна быть достаточно большой, чтобы не пришлось часто ее чистить. У вас также должен быть легкий доступ к механизму мельницы, чтобы вы могли извлечь застрявшие ветви — такое случается даже с лучшими моделями. В некоторых мельницах есть задняя передача, что существенно облегчает работу.

Цена на измельчители веток зависит от мощностей и возможностей машины.

В следующей статье читайте о уходе и особенностях хризантем!
roslyny.com
Электрические и бензиновые садовые измельчители веток
Садовый измельчитель веток – довольно-таки полезная вещь на садово-огородном участке. Ведь с его помощью срезанные ветки можно превратить в опилки, которые в перегнившем состоянии — прекрасное удобрение для почвы.
При отсутствии данного устройства огородники зачастую задаются вопросом утилизации веток после обрезки садовых деревьев. С дробилкой для веток все эти проблемы исчезают.
Садовые измельчители помогают владельцам значительно уменьшить количество садового мусора на участке и с умом его использовать в будущем.
Зачем нужны измельченные ветки
Измельченными ветками достаточно удобно засыпать дорожки во избежание роста травы. И живые микроорганизмы не в обиде – им от засыпки только лучше и комфортнее.Через примерно 2-3 года старую мульчу можно будет собрать с дорожек и присыпать ею огородный участок, а дорожки засыпать новой мульчей.
После измельчения ветки можно положить в компостную кучу и таким образом быстро приготовить компост.
Зачастую многие владельцы садово-огородных участков ненужные им ветки попросту сжигают. Делать это, по меньшей мере, нецелесообразно потому, что:
- происходит загрязнение окружающей среды дымом от костров;
- потеря полезного органического материала, который можно было бы использовать с пользой для садово-огородного участка.
Целесообразность покупки устройства
По большей части, представленные в магазинах модели садовых измельчителей недешевы и зачастую не по карману многим огородникам.Однако эта вещь настолько полезна в загородном доме или на даче при ведении своего хозяйства, что этот недостаток перекрывается кучей других полезных достоинств и свойств.
Поэтому многие дачники зачастую пересматривают свой бюджет и покупают себе измельчитель. Конечно же, смысл в покупке есть при наличии достаточного количества веток, которые вам необходимо частенько измельчать.
Иногда деревьев на участке вырастает достаточное количество, и они даже начинают мешать владельцам этих участков. Ветки разрастаются так, что закрывают окна и в доме становится очень темно из-за непроникающего внутрь солнечного света.
Что только не идет в ход – и топоры, и бензопилы, и электролобзики, чтобы спилить ненавистные ветки. За год ветки могут дать прирост в 2 метра и более, поэтому процесс их среза иногда приходится проводить достаточно часто.Измельчитель веток окупится уже в первый дачный сезон. Ведь в случае, если у Вас достаточно крупный садовый участок, при покупке измельчителя веток вы можете не тратить деньги на заказной транспорт, чтобы вывезти садовый мусор.
Полученные с помощью измельчителя щепы можно запаковывать в мешки и вынести с территории участка или использовать на самом участке (по Вашему усмотрению).
Это устройство позволяет легко и быстро справляться со всеми садовыми отходами.
Критерии выбора
Измельчитель веток необходимо выбирать, исходя из:
- мощности аппарата;
- вида двигателя;
- вида дробящей системы
- возможности или невозможности перерабатывать различные типы садовых отходов;
- массы измельчителя;
- размера воронки для загрузки веток и мусора, ее диаметр;
- общей функциональности;
- наличия или отсутствия реверса;
- наличия или отсутствии встроенной защиты.
Но, в общем, выбор веткоизмельчителя осуществляется на основе двух основных параметров:
- ножевой системы;
- типу двигателя.
Рассмотрим подробнее каждый из них.
Ножевая система
Дисковая система. Эта система подойдет больше всего для переработки мелких листьев, травы и тоненьких веток. Если использовать измельчитель с дисковой ножевой системой для обработки толстых веток, можно с легкостью затупить ножи.Фрезерная система. Более удобная, надежная и практичная система, чем дисковая. Позволяет обрабатывать ветки диаметром до 4,5 см.
Отличается эта система и самостоятельным затягиванием веток в дробилку – можно спокойно загрузить аппарат ветками и заниматься другим делом.
По типу двигателя
Следует помнить, что качественные и скоростные характеристики работы измельчителя зависят напрямую от типа его двигателя.
Электрические.Плюсы:
- производят мало шума;
- простое обслуживание;
- приемлемая цена.
Минусы:
- недостаточная мобильность по сравнению с бензиновыми;
- чувствительность к перепадам напряжения в сети электрического тока;
- имеют мощность до 2,5 кВт, перерабатывают ветки диаметром до 4,5 см.
Бензиновые.
Плюсы:- мощные;
- справляются с практически любым мусором на садово-огородном участке;
- высокая мобильность;
- высококачественность производимой работы.
Минусы:
- сильный шум от производимой работы;
- необходимость в правильном и грамотном обслуживании.
Если вас интересует принцип действия и особенности использования дробилки для дерева , советуем прочитать нашу статью: //6sotok-dom.com/instrumenty/drobilka-dlya-dereva.html
В общем, выбор только за Вами. Имеет смысл также почитать отзывы пользователей о конкретных моделях и производителях, и, наконец, на основании ваших возможностей и потребностей сделать окончательный вывод – какой садовый измельчитель веток нужен именно Вам.
Если у Вас есть мотоблок, то есть возможность приобрести специальную приставку измельчения веток для мотоблока. А может даже, попробуете собрать измельчитель сами, как известные умельцы со своим аппаратом Гризли, поразившие значительную часть интернета своей новинкой.
Смотрите видео,в котором показана работа измельчителя веток Гризли в различных условиях:
6sotok-dom.com
